پرس نیوماتیک | PSU | Pneumatic Stamping Unit

Pneumatic Stamping Unit

مشخصات :
خرید محصول
اشتراک گذاری
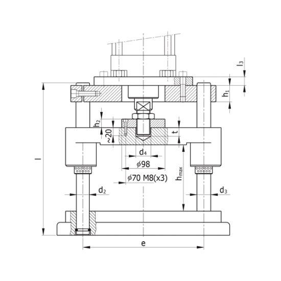
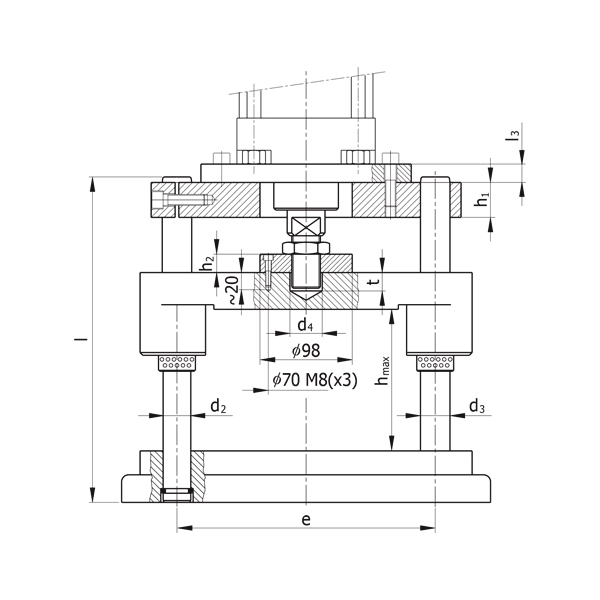
تصویر پرس نیوماتیک | PSU | Pneumatic Stamping Unit
تصویر پرس نیوماتیک | PSU | Pneumatic Stamping Unit
تصویر پرس نیوماتیک | PSU | Pneumatic Stamping Unit
تصویر پرس نیوماتیک | PSU | Pneumatic Stamping Unit
درحال بارگذاری

تجهیزات جانبی قابل نصب :


- شستی و پدال (انتخابی)

- پدال با فرمان بادی یا برقی

- توقف در محل دلخواه

- توقف زمانی قابل تنظیم در انتهای كورس

- دو شستی جهت ایمنی

- شماره انداز

- حركت پی در پی

- تنظیم مقدار و محل كورس

- سیستم ایمنی قطع سریع

- سرعت قابل تنظیم

مزایا :


- قیمت مناسب

- طول كورس قابل تنظیم

- زیبایی و ساختار مناسب

- سطح كار مستطیل وگرد در ابعاد مختلف

- قابلیت كار با هوای فشرده بدون نیاز به برق

 

كاربرد :


- خطوط تولید و مونتاژ، پانچ و برش و فرم سبك، خانكشی، پرچكاری، بسته بندی ، جازدن قطعات ، داغ زدن و چاپ .

نظر خودتان را بنویسد

اگر پرسش یا نظری دارید ثبت کنید و امتیاز بگیرید.